Разновидности колонн
По краям дома (там, где нагрузки меньше) колонны могут быть выполнены из стальной квадратной трубы сечением 150 мм. Труба соединяется с основанием и потолочным перекрытием анкерным способом. По месту стальные колонны устанавливаются с помощью крана.
1 из 1
На фото:
Обратите внимание на деревянные стены, которые возводятся вокруг колонн. Они не будут несущими. Роль колонн могут выполнять и небольшие по площади, но функционально важные кирпичные стены
Стены же, выполненные в виде лёгких деревянных коробчатых конструкций, являются независимыми и вертикальных нагрузок не испытывают
Роль колонн могут выполнять и небольшие по площади, но функционально важные кирпичные стены. Стены же, выполненные в виде лёгких деревянных коробчатых конструкций, являются независимыми и вертикальных нагрузок не испытывают.
На верандах и на крыльце колонны могут выполняться из деревянного бруса и из оцилиндрованного бревна. Их фиксация на бетонном основании производится путем установки в закрепленные анкерами стальные стаканы.
1 из 1
На фото:
Фиксация деревянной колонны в металлическом «стакане».
Наконец, самые важные колонны — по центру дома. Обычно здесь выполняются колонны расчетного сечения на металлическом каркасе — они отливаются из бетона в инвентарной опалубке.
Когда снимать опалубку с колонны?
Конструкция распалубливается только после того, как бетон наберет остаточную прочность. В этом – одна из причин, почему применение стальных колонн оказывается экономически целесообразным. Ведь инвентарная опалубка стоит недешево, и её ждут на других объектах. Так что комбинация бетонных и стальных колонн позволяет снизить стоимость общестроительных работ.
Установка фундамента
Для возведения стаканных сооружений важно придерживаться прописанных стандартов. Процесс монтажа не так уж сложен, если точно придерживаться определенной очередности работ. Шаги по возведению фундамента
Шаги по возведению фундамента
- Грамотная предварительная подготовка грунта.
Он должен быть хорошенько выровнен и размечен. Дело в том, что на нем будут размещены железобетонные балки, которые категорически запрещается смещать.
Если характеристики строительной площадки не позволяют сделать этого, то вполне можно подсыпать привезенный грунт и как следует его утрамбовать. - Уплотнение грунта.
Когда почва достаточно подготовлена, можно переходить к ямам, которые выкапываются в заранее определенных отмеченных местах.
Днища готовых ям трамбуются и уплотняются посредством гравия. - Далее настает черед установки блоков.Необходимо тщательно следить, чтобы поверхности всех устанавливаемых элементов находились в строго горизонтальной плоскости. Пользуются для этого разными приспособлениями, например, нивелиром либо обычным строительным уровнем. Когда все используемые элементы будут установлены, требуется очистить их поверхность от всех видов загрязнений.
Правильно установленный стаканный фундамент равномерно распределяет нагрузки от строения по всей поверхности почвы.
Важное условие для этого – устойчивый к просадкам, пучинистости, деформациям грунт. Такие его характеристики необходимы для отсутствия последующей просадки строения, образования трещин. Другими словами, они обеспечивают постройке надежность, увеличивают возможный срок ее эксплуатации
Другими словами, они обеспечивают постройке надежность, увеличивают возможный срок ее эксплуатации
Такие его характеристики необходимы для отсутствия последующей просадки строения, образования трещин. Другими словами, они обеспечивают постройке надежность, увеличивают возможный срок ее эксплуатации.
Соблюдение технологии
Чтобы избежать ошибок при установке основания должны быть предприняты необходимые меры, обеспечивающие ему необходимую прочность.
Соблюдайте технические требования специального ГОСТа!
- Требуется использовать бетон марки М200 (или выше ее качеством), что необходимо для высоких выдерживающих способностей и надлежащей прочности будущих опорных столбов;
- В процессе возведения конструкции должен обеспечиваться уровень водопоглощения не выше пяти процентов;
- Все конструкции устанавливаются лишь после обретения ими необходимой прочности;
- Необходимо обязательное армирование колонн специальной стальной арматурой;
- Толщина раствора вокруг металлических прутов должна быть не менее 3 см;
- Допускаются трещины после высыхания размером не больше 1/10 одного мм;
- В процессе монтажа, после того, как опорные колонны будут установлены, следует удалить все имеющиеся специальные монтажные петли.
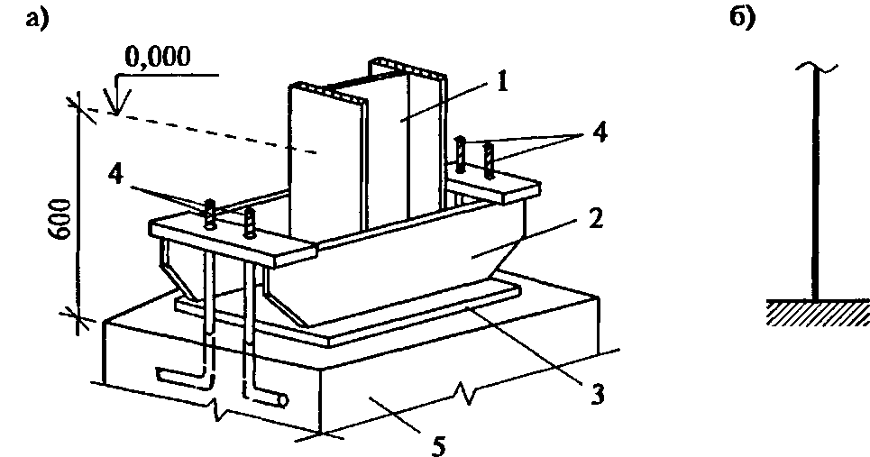
Железобетонные колонны промышленных зданий.
В зданиях без мостовых кранов устраивают колонны без консолей, а в зданиях с мостовыми кранами — колонны с консолями, на которые опирают подкрановые балки. По расположению в плане различают колонны крайних и средних рядов: первые устанавливают также в рядах, примыкающих к продольным температурным швам.
Железобетонные колонны могут иметь прямоугольное и двутавровое сечения, а также быть двухветвевыми. По сравнению с колоннами прямоугольного сечения двухветвевые колонны имеют повышенную жесткость, но они более трудоемки в изготовлении. Применяют их в здании с высотой более 10.8 м.
В зданиях, оборудованных более чем двумя мостовыми кранами в пролете, по условиям безопасности обслуживающего персонала предусматривают сквозные проходные галереи вдоль подкрановых путей. В этих случаях применяют двухветвевые колонны с лазами, расположенными в уровне верха подкрановых балок.
Ветви колонн сквозного сечения связаны распорками через 1.5-3.0 м по высоте.
В железобетонных колоннах предусматривают стальные закладные элементы, с помощью которых крепят стропильные конструкции, подкрановые балки, стеновые панели (в колоннах крайних рядов) и вертикальные связи. В У1естах опирания стропильных конструкций и подкрановых балок укладывают стальные листы: крепят их анкерными болтами. При
безанкерном креплении стропильных конструкций к колоннам в головки их заделывают стальные пластины.
Для повышения устойчивости зданий в продольном направлении предусматривают систему вертикальных связей между колоннами и в покрытиях. В зданиях без мостовых кранов и с подвесным транспортом межколонные связи ставят только при высоте помещений более 9.6 м. В целях снижения усилий в элементах каркаса от температурных и других воздействий вертикальные связи располагают в середине температурных блоков в каждом ряду колонн.
Рядовые колонны соединяют с связевыми колоннами распорками, размещаемыми по верху колонн, а в зданиях с мостовыми кранами — подкрановыми балками. Связи выполняют из уголков или швеллеров и крепят к колоннам с помощью косынок на сварке.
Фундамент стаканного типа: технические требования по ГОСТ 23972-80
Государственный стандарт союза сср фундаменты железобетонные для параболических лотков технические условия гост 23972-80
- Бетон марки не меньше М200 В2;
- Монтаж конструкций только после достижения необходимой прочности бетона;
- Уровень водопоглощения не более 5%, достичь показателя можно с помощью гидроизоляции;
- Жесткое армирование по всем поясам;
- Толщина бетонного слоя вокруг арматуры не менее 3 см;
- Толщина трещин в бетоне не более 0,1 мм;
- Полное удаление монтажных петель с помощью болгарки, удаление ударным методом строго запрещено;
- Арматуры в обнаженном виде в основании быть не должно.
Обзор плитного фундамента
Еще одним вариантом фундамента для домашнего строительства, который достаточно часто применяют, является плитное основание. Он обладает видом сплошной или решетчатой плиты, которая выполняется из железобетонного монолита или сборных железобетонных балок с заделанными стыками. Плитные фундаменты, обычно, возводят по всей площади сооружения. Его применение оправдано на почвах, подверженных сильному и неравномерному сжиманию, а также на просадочных и пучинистых грунтах. Его иногда еще называют «плавающим». Также он будет полезен там, где уровень грунтовых вод находится меньше 1 метра от поверхности земли, а также во время возведения многоэтажных сооружений. Отлично держит как вертикальные, так и горизонтальные движения.
Достоинства:
- Легкость в возведении;
- Можно построить на подвижных, просадочных и пучинистых грунтах.
Недостатки:
Где применяют стаканный фундамент?
Расчёты основания
Для индивидуального строительства жилых домов малой этажности, а также комплексного возведения многоуровневых новостроек используют только ленточные или монолитные фундаменты. Использовать точечное стаканное основание в этом случае нельзя. Его следует применять для строительства следующих зданий:
объекты промышленного назначения – мосты через водоемы, конструкции для переходов и переездов над железнодорожными путями;помещения социальной инфраструктуры – подземные гаражи и автомобильные стоянки;машинные отделения на теплостанциях и электростанциях;складские ангары для хранения готовой продукции или сырья;спортивные и торговые комплексы одноуровнего типа с малым весом строения.
Чаще всего столбчатое основание представляет собой железобетонный фундамент стаканного типа. Его главным отличием является то, что обычно заказчиком сооружений выступают государственные структуры, муниципальные власти или крупные промышленные предприятия.
Это подразумевает полное соответствие оснований заявленным техническим требованиям и ГОСТам. Для характеристики используемого при строительстве материала, а также места, где может располагаться стаканное основание, используется специально разработанная серия фундаментов определенной версии, утвержденная и проверенная проектными институтами. В серии четко прописаны все нормы и требования, которым должно соответствовать основание.
Анкерные соединения
Конструктивная схема с указанием нахождения анкерных соединений
В зависимости от типа выбранной колонны, анкерные соединения подбираются в индивидуальном порядке. Установки и фиксация колонны выполняется с помощью больших болтов или анкеров, которые затем привариваются к арматурному слою и надежно удерживают колонну в вертикальном положении.
Отличительная особенность монтажа соединительных элементов в том, что после их закрепления фундамент разбивают. Если после этого отклонения болтов не произошло, то монтаж считают выполненным правильно, а если есть отклонения центров на расстояние от 2 мм, тогда анкера заменяют.
Фундамент стаканного типа – его особенности, преимущества и сфера применения
Стаканный фундамент предназначен для равномерного распределения большого веса постройки в точке опоры. Используют его при строительстве зданий и сооружений с опорой на колонны. Таким образом, такой фундамент подходит для:
- коровников, птичников, конюшен и других животноводческих объектов;
- ангаров, складов и торговых помещений;
- развлекательных и спортивных учреждений;
- сотовых вышек и линий электропередач;
- подземных паркингов и гаражей.
При этом колонны могут быть как железобетонные, так и металлические.
В первом случае колонна вставляется в специальную нишу и заливается бетонным раствором, во втором – фиксируется за предварительно вмурованные в фундаментный блок анкеры.
Плюсы и минусы стаканного фундамента
Этот тип фундамента характеризуется несомненными преимуществами:
- высокая прочность фундамента, позволяющая выдерживать повышенные нагрузки;
- широкий спектр применения – от многоярусных подземных гаражей до машинных залов в атомной энергетике;
- возможность строить длинные каркасные здания на сыпучей почве склонной к расслоениям в горизонтальной плоскости;
- обеспечение надежности строений в сейсмически активных зонах;
- сокращение земляных работ – в зависимости от проекта, котлованы выкапываются только по контуру опор или, в некоторых случаях, дополнительно по периметру здания.
Важно помнить, что преимущества использования основания стаканного типа проявляются только при соблюдении всех строительных стандартов и нормативов:
Недостатки у подобного типа фундамента тоже есть:
- не подходит для пучинистых и болотистых почв – только для плотных грунтов с глубоким заложением грунтовых вод;
- использование тяжелой техники – без стрелового крана и экскаватора не обойтись;
- высокая цена – в основном, за счет аренды техники;
- скорость возведения – для заливки и застывания монолитных стаканов на месте понадобится около двух месяцев, изготовление же заводских блоков занимает месяц, а их установка еще неделю.
Конечно, выглядят лучше, а если заказывать их заранее, то собрать весь фундамент можно за две недели.
Но с доставкой тяжелых железобетонных блоков могут быть проблемы, так что нужно предварительно озаботиться засыпкой подъездных путей щебенкой. Иначе после дождей фуры могут не доехать.
Можно ли использовать в частном строительстве?
Как уже упоминалось, для строительства загородного дома такой фундамент не подходит – из-за дороговизны. Но если заливать «стаканы» небольшого размера сразу же на месте, можно добиться существенной экономии благодаря сокращению затрат на материалы. К тому же не понадобится кран, так как колонны тоже можно делать монолитными, а котлованы небольшой глубины легко выкапываются вручную.
Несомненное преимущество фундамента стаканного типа в частном строительстве – возможность строить на участках с большим перепадом высоты без выравнивания площадки. И, в отличие от фундамента из свай, такое основание подходит для грунтов без боковой поддержки – песчаных и супесчаных.
Если же по периметру между колоннами залить ленту, можно обустроить полноценный цокольный этаж.
Там можно оборудовать гараж, мастерскую или технические помещения типа прачечной. Единственное – на скошенном участке придется серьезно потрудиться над гидроизоляцией цокольного этажа, иначе во время дождей вся вода со склона будет собираться именно там.
Расчет стоимости
Виды стаканного типа: а — высокие, б — с подколонником, 1 — колонна, 2 — подколенник, 3 — стык колонны с подколонником.
Устройство стакана для фундамента требует закупки не только арматуры, но и опалубки. Чтобы удешевить стоимость проводимых работ, необходимо правильно выбрать колонны для будущей конструкции. Сегодня производители предлагают различные материалы, стоимость которых различается в зависимости от их характеристик. Рассчитать бюджет для всего фундамента довольно просто, необходимо только выбрать соответствующие колонны, определить их количество (фундаменты под строения различной площади могут иметь разное количество таких колонн). Общая стоимость должна учитывать опалубку, цементный раствор, расходы на доставку материалов и копку. Сами колонны, которые отлично подходят под стаканный фундамент, имеют следующую стоимость:
- столбы 1Ф 12/12/1. Размеры колонны — 1200 мм * 1200 мм * 650 мм (длина, ширина и высота соответственно). Вес одной колонны — 1 475 кг. Стоимость (средняя по региону Москвы) составляет 4500 рублей;
- 1Ф 9/9/91. Размеры колонны — 990 мм * 900 мм * 650 мм. Вес — 900 кг. Стоимость — 2800 рублей;
- 2Ф 15/15/1. Размеры колонны — 1500 мм * 1500 мм * 650 мм. Вес одной колонны составляет 2 025 кг. Средняя стоимость — 5000 рублей;
- 1Ф 8/6/5. Размеры — 800 мм * 550 мм * 600 мм. Вес — 475 кг. Стоимость — 1900 рублей.
Фундамент стаканный — это разновидность столбчатого, состоящего из специальных опор, принимающих на себя всю нагрузку от здания. Такие фундаменты используются только для устойчивых грунтов, сооружаются они в виде больших бетонных башмаков, которые поддерживают на себе здание. Сегодня такие фундаменты являются идеальными при сооружении каркасных домов. Они позволяют значительно сократить стоимость на сооружение основания. При этом прочность и надежность такой конструкции достаточно высока, она отличается долговечностью, хотя в устройстве и несколько сложна.
Наши услуги
принимает заявки на следующие типы работ: забивка свай, лидерное бурение под сваи, забивка шпунта. Смотрите подробнее про наши услуги в меню сайта. Чтобы оставить заявку на выполнение работ, заполните форму:
«]» data-sheets-userformat=»,,NULL,NULL,NULL,NULL,NULL,NULL,NULL,0,NULL,,NULL,11]» style=»font-size: 110%; font-family: arial, sans, sans-serif;»>
Фундамент под баню: их виды и сравнение
осуществляет погружение свай при строительстве фундаментов под различные строения: жилые, производственные, хозяйственные, поэтому, по…
Подробнее
Фундамент под дачный дом
Строительство фундамента даже для небольшого дачного дома имеет большое количество особенностей. Учитывают типы грунта, уровень пролегания грунтовых вод, климатические условия в регионе…
Подробнее
Фундамент для пристройки к дому
Строительная специализируется на строительстве фундаментов разной сложности и вида в Москве и области. Если вы решили расширить жилое…
Подробнее
Фундамент ТИСЭ
В данной статье мы поговорим о свайно-ленточный фундаментах ТИСЭ. Вы узнаете, в каких случаях рационально использовать такие основания, какими преимуществами и недостатками они обладают.
Железобетонный фундамент
На этой странице мы рассмотрим основные виды железобетонных фундаментов, технологию их возведения и определим, рационально ли самостоятельно заниматься их строительством.
Технология возведения стаканного фундамента
При возведении больших по площади одноэтажных зданий промышленного, коммерческого и общественного назначения все чаще применяют стаканный фундамент. Он помогает ускорить строительство производственных корпусов, складских ангаров, сооружений каркасно-панельного типа, гаражей, мостов, опор для подвальных помещений атомных электростанций. Функциональная схема такая же, как и у подушки ленточного типа – выполнение разгружающего действия и создание базы.

Фундамент стаканного типа – составное сооружение, включающее такие сборочные единицы:
- опорную плиту – ее устанавливают на песчано-щебневую подушку, предварительно подготовленную на дне котлована;
- подколонники – представляют собой бетонные стаканы;
- колонны (стойки каркасного строения) – имеют квадратную форму, размеры сечения – 300х300 или 400х400 мм;
- бетонные столбы – поддерживают стойки.
Для частных одноэтажных домов обычно изготавливают ленточный или монолитный виды фундаментов, отливаемые непосредственно на строительной площадке. Элементы основания изготавливают на заводе, а затем ставят в предварительно подготовленные ямы. После этого в гнезда опускают колонны, монтируют столбы.
Сборная технология нашла использование в общественном строительстве, где заказчиком являются госструктуры, органы власти или крупные предприятия. Они могут осуществлять руководство и контроль над созданием конструкции – начиная с проекта, который обычно заказывают в профильных институтах. При проектировании площадок точечного типа учитываются вес и размеры здания, качество почвы, уровень сейсмической активности в регионе. Бетонные подколонники подходят для стабильных прочных грунтов при низком уровне залегания почвенных вод.

Поэтапная инструкция монтажа фундамента стаканного типа
Приступать к строительству фундамента стаканного типа можно только после создания проекта, точно рассчитанного специалистами. В этом проекте должен учитываться вид нагрузки: при центральной используются опорные плиты квадратного сечения, при боковой – прямоугольного. Вид башмака и его сечение зависят от грунта и несущей способности фундамента.
Но независимо от размеров и вида, фундамент должен изготавливаться из бетона марки М200 с впитыванием влаги до 5% максимум от собственного объема (обозначается маркировкой В2). Для армирования используется арматура класса А2 или А3 для сварных конструкций.
Установка фундамента из готовых блоков
Первое, из чего начинается любое строительство – обеспечение подъездной дороги к объекту. Не стоит экономить на щебенке – вес каждого блока варьируется от 1,3 до 5,8 тонн, так что тяжело груженые фуры по грунтовке после дождей могут не проехать. Когда на стройку доставлен кран, экскаватор и все материалы, можно приступать к устройству фундамента:
- Выкапываются котлованы под стаканные блоки согласно разработанному проекту. Сначала экскаватором, а потом выравниваются по нивелиру вручную лопатами.
На дно обязательно насыпается минимум 30 см песчано-гравийной подушки, которая должна быть больше будущей плиты основания на 30 см. Сначала – гравий, который трамбуется и выравнивается по уровню. Потом такой же толщины слой увлажненного песка. Если песок поливается со шланга, нужно быть предельно аккуратным, чтобы не намочить земляное дно. Если дно котлована и песчаная подушка не выровнены, не добиться равномерного распределения веса. Согласно проекту, размечается центральная точка для каждого котлована, по которой будет выверяться положение плиты основания и башмака. С помощью крана блоки переносятся к котловану, а два строителя на весу выравнивают их согласно разметке и после этого кран опускает блок.
Выбранным из котлованов грунтом производится обратная засыпка установленных стаканов.
После того, как все стаканы засыпаны, с помощью крана устанавливаются железобетонные колонны.
Фундаментная балка укладывается на стаканы между колоннами – для нее не нужно дополнительно заливать ленточный фундамент. А уже на эту балку будет ставиться бетонная стеновая панель.
Скорость установки готовых стаканов действительно впечатляет – за неделю можно поставить до 130 стаканов и сразу же приступать к возведению стен, не дожидаясь застывания фундамента, как это происходит при заливке.
Устройство монолитного фундамента
Несмотря на то, что стоимость готовых стаканных блоков не так и высока, практически всю денежную выгоду нивелирует сложная и дорогостоящая доставка многотонных башмаков. В некоторых случаях гораздо проще залить фундамент на месте, заказав несколько бетономешалок с готовой смесью. Самостоятельно замешивать бетон не стоит – добиться нужной марки не получится. Процесс устройства не очень отличается от установки готовых блоков:
- Выкапываются котлованы, выравнивается дно, укладывается и трамбуется песчано-гравийная подушка.
- Делается подбетонка – тонкий и ровный слой цементного раствора, который предотвратит потерю бетонного молочка.
На подбетонку устанавливается армирующий каркас для будущего стакана. Сваривать можно арматуру только с соответствующей маркировкой, если арматурные пруты не предназначены для сваривания, их связывают поволокой.
Вокруг армирования устанавливается опалубка, повторяющая форму стаканного блока. Если же планируется установка железных колонн, вместо пустой ниши внутри башмака делается монолитный стакан с вмурованными анкерами из высокопрочного металла.
Когда опалубка готова, можно приступать к заливке бетона. Не стоит забывать вибрировать бетон погружным вибратором до полного исчезновения пузырьков воздуха, поднимающихся из глубины. Если этого не делать, под весом стен и перекрытий основание может начать трескаться.
Снимается опалубка после того, как бетон затвердеет – ориентировочно на третий день после заливки. Остаточную прочность бетон набирает только через месяц, все это время фундамент нужно поливать и укрывать.
Только после того, как фундамент остаточно затвердеет, можно приступать к обратной засыпке и установке колонн.
Для понимания процесса, на видео показано, как заливается подобный тип фундамента:
Инструкция по закладке стаканов
Сборка такого типа фундаментов нуждается в применении дополнительных средств механизации и спецтехники, поэтому план проекта сооружения должен отражать эту необходимость, например, обеспечивать подъездные пути и место для дислокации техники, наличие обслуживающего персонала и стоянки.
Спецтехника для сборки стаканного основания
- Первый шаг – подготовка площадки, которая заключается в расчистке участка под основание и рытье котлована, размеры которого указаны в проекте;
- Трамбовка песчано-щебневой подушки, уложенной на дно траншеи. Подушка нужна, чтобы выровнять дно котлована и обеспечить гидроизоляцию;
- Столбчатый стаканный фундамент возводится согласно гост и с использованием контрольных и измерительных инструментов для проверки уровней конструкции;
- Следующая операция – разметка площадки под фундамент – для этого нужны деревянные колышки или металлические прутья, и строительный шнур. Разметка проводится для каждого стакана отдельно;
- Перед монтажом бетонных стаканов их очищают от грязи, и подъемным краном устанавливают на место. Для перемещения в стаканах залиты монтажные петли, а крановщик и стропальщики должны иметь соответствующие допуски. После установки каждого стакана контролируется его положение – пир помощи нивелира, отвеса и уровня;
- По окончании монтажа всех стаканов делается обратная засыпка – вынутый грунт засыпается в оставшееся пространство вокруг стаканов и трамбуется. Далее на стаканы устанавливаются бетонные опоры. Лишний грунт равномерно распределяется по стройплощадке или вывозится;
- Чтобы выровнять колонну в промышленном фундаменте, под нее подкладывают клинья. Материал для клиньев – металл, дерево или железобетон. После центровки колонн деревянные клинья нужно убрать, остальные – можно оставить.
Строительство стаканного фундамента
Все строительные, измерительные, исследовательские и проектировочные операции необходимо проводить в соответствии с требованиями гост 24476-80 и техническими условиями, предъявляемыми к столбчатым основаниям из сборных железобетонных узлов и элементов. Рассчитывать прочность и состав материалов следует заранее, на заводе-производителе.





































